Home / Product
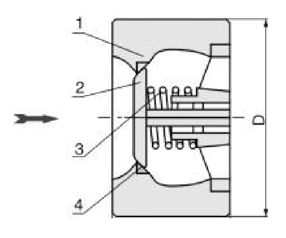
The clamping silent check valve adopts the flow type design, and the water head loss is small; The internal spring can be accelerated to close, to achieve quiet effect; Metal to metal to ensure the reliability of the seal; Small installation space. It can be installed at the water outlet of the pump to avoid water hammer, water percussion and destructive impact, to prevent countercurrent and protect the equipment. Widely used in water supply and drainage, fire, building, HVAC, industrial system.

Typical installation diagram

Water ConservancyCheck Valve.pdf